审计风险从审计规则命中的风险等级维度,帮您进行安全分析。
检索审计风险
- 登录 数据安全审计控制台,在左侧导航栏中,单击风险识别 > 审计风险,进入审计风险页面。
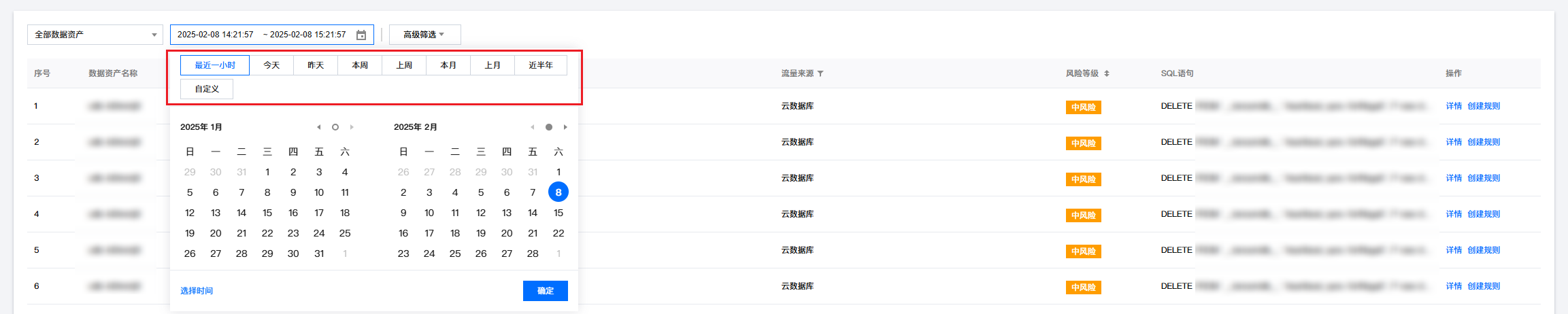
- 在审计风险页面,可根据具体数据资产名称检索,还可以按最近一小时、今天、昨天、本周、上周、本月、上月、近半年、自定义日期检索。

- 如需对审计风险进行指定检索。单击高级筛选,可根据用户名、命中规则、风险等级、客户端 IP 等关键字,输入具体值,单击查询,即可查看相关信息。

查看数据详情
- 登录 数据安全审计控制台,在左侧导航栏中,单击风险识别 > 审计风险,进入审计风险页面。
- 在审计风险页面的日志列表中,选择所需日志,单击详情,进入审计风险详情页面。

- 在审计风险详情页面,可查看该条日志的基本信息和详细信息。

创建规则
您可以针对某一条风险的具体操作动作,单独创建一条审计风险规则。通过这一规则,精准锁定特定的客户端、服务端以及操作行为,实现针对性的风险管控。
- 登录 数据安全审计控制台,在左侧导航栏中,单击风险识别 > 审计风险,进入审计风险页面。
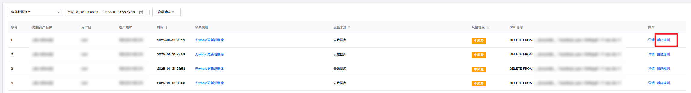
- 在审计风险页面的日志列表中,选择所需日志,单击创建规则,进入创建规则页面。

- 在创建规则页面,您可以看到触发数据安全风险的客户端信息、服务端信息、具体操作行为。您可以自定义规则类型、规则名称、规则备注、风险等级以及是否告警,单击确定保存。






